
「店舗の改修費用はどのように経費計上すればいい?」「店舗の改装・内装工事費は減価償却できる?」と疑問をお持ちの方もいらっしゃるはずです。
店舗改修の費用を減価償却できるかどうかは、その経費が修繕費と資本的支出のどちらに該当するかによって異なります。
そこで本記事では、減価償却の基本的な考え方から耐用年数との関係性、修繕費・資本的支出の判断基準、店舗改修に関連する主な勘定科目と具体例まで、横松建築設計事務所の事例写真を交えてわかりやすく解説します。
店舗改修の会計処理と減価償却計算の方法、テナントの原状回復、改修費用の目安についてなど、多くの方からいただくご質問も紹介しますので、ぜひ最後までご覧ください。
コラムのポイント
減価償却を前提とした店舗改修を検討中の方は、資本的支出と修繕費の違いを見極めることが重要で、そのためには税務と設計を同時進行する必要があります。
税申告にかかわる基本ルールを知ると、より精度の高い経営計画を立てられます。
おしゃれでコストパフォーマンスの良い店舗改修を実現させたい方は、関連法令に関する知識と、実績が豊富な設計事務所にご相談ください。
Contents

「減価償却」とは、事業用の建物・建物附属設備・機械装置・器具備品・車両運搬などの固定資産について、時の経過とともにその価値が減少すると考え、その取得にかかった経費を資産使用可能期間にわたって分割し、各年で計上する会計処理の方法です。
この場合、資産の使用可能期間は税法に基づき定められる「法定耐用年数」が用いられます。
(参考:減価償却資産の耐用年数等に関する省令|別表第1・第2)
法人の場合、資産の購入に対して減価償却するかしないかは任意ですが、取得にかかった支出をその年に全額経費計上すると、利益が極端に変動し、経営実態を正しく把握できません。
そのため、まとまった額で固定資産を取得した場合は、減価償却の制度を利用するのが一般的です。
ちなみに、減価償却の対象になる資産を「減価償却資産」と呼びますが、土地や骨董品など経年で価値が減少しない資産は、減価償却資産に該当しません。

減価償却は、店舗改修費用のうち、資本的支出に該当するもののみで、修繕費になるものは対象外です。
資本的支出と修繕費には、税法上で明確な違いが定められていますので、どちらに該当するか迷った際には、以下の視点で判断しましょう。
| 資本的支出 |
法人が所有する固定資産の修理・改良・改善のために支出した金額のうち、以下に該当するもの
※建物の増築・構築物の拡張(延長)は、建物等の取得に当たり、資本的支出には該当しない |
| 修繕費 | 法人が所有する固定資産の修理・部分交換・原状回復(除去)・維持管理にかかった支出 |
(参考:国税庁|第8節 資本的支出と修繕費)
減価償却の制度は資本的支出のみが対象で、修繕費は支出が発生した年に一括で経費計上して申告するのが原則です。
ただし、中小企業等※が30万円未満(中小企業等以外は10万円未満)で取得した減価償却資産を、「少額減価償却資産(令和8年3月31日までに取得したもの)」とし、要件を満たしていれば、取得価額を一括で損金として経費計上できる場合もあります。
※青色申告法人のうち、常時使用する従業員の数が500人以下の法人
(参考:国税庁|No.5408 中小企業者等の少額減価償却資産の取得価額の損金算入の特例)

ここでは、店舗改修において減価償却に関わる「建物・建物付属・器具備品」について、勘定科目別に具体例を紹介します。
店舗改修において、一部の工事費用は勘定科目で「建物」に含まれ、資本的支出として減価償却の対象になるケースが一般的です。
|
※上記は一例で、分類の判断については管轄の税務署にご確認ください。
建物と一体になる設備などは、「建物附属設備」として減価償却資産に含まれます。
※勘定項目で分類する際には「建物」に含む場合もあります。
建物附属設備に含まれる主な工事は以下の通りです。
|
(参考:国土交通省|第2節 建物附属設備)
建物附属設備と器具備品のどちらに該当するかは、「建物との固着性」で決まります。
例えば、天井埋め込み型の天井カセット型エアコンは「建物附属設備」として判断されることが多く、壁掛けのルームエアコンは「器具備品」として扱うのが一般的です。
店舗改修と関わりがあるもののうち、以下の取得費用が器具備品として経費計上されます。
|
(参考:国税庁|減価償却資産における「機械及び装置」と 「器具及び備品」の区分について )
ポイント
店舗改修において、スケルトンリノベーションや内装・設備を全面更新する工事は、資本的支出と修繕費に該当する支出に分かれ、どこまでを減価償却できるかの判断が分かれます。
そのため、事前に減価償却できる費用を把握したい方は、改修工事の概略プランがまとまった初期段階で、税務署もしくは税理士に相談すると確実です。

店舗改修費の耐用年数(=減価償却期間)は、工事の内容と減価償却の対象となる資本的支出の種類によって異なります。
そのため、支出を分散して計画的な経営戦略を立てたい方は、それぞれの法定耐用年数を理解しておくことが重要です。
税法では、課税の公平性を担保するため、建物の用途と構造の種類に応じて、物理的な建物寿命とは異なる法定耐用年数が定められています。
| 建物の構造種別 | 「店舗用」の場合の法定耐用年数 |
|---|---|
| 木造 |
|
| 鉄骨鉄筋コンクリート造 鉄筋コンクリート造 |
|
| 鉄骨造 |
※鉄骨の肉厚によって法定耐用年数が異なる |
(参考:国税庁|主な減価償却資産の耐用年数表)
テナントなどの賃貸物件において、建物(床・壁・天井含む)も、建物附属設備として扱われるケースが一般的です。
テナント内装工事のうちB工事※・C工事※は、物件の賃貸契約期間で償却することが認められています。
※B工事:貸主(所有者)の発注・借主の費用負担で行われる専有部内の工事
※C工事:借主の発注・費用負担で行われる専有部内の工事
契約期間が定まっていない場合や、貸主と借主で自動更新での契約が締結されている場合は、税務署の判断で合理的かつ現実的な法定耐用年数が指定されるケースがありますので、事前確認が必要です。
建物附属設備の法定耐用年数は「原則15年」ですが、省令では分類ごとに細かく年数が定められています。
| 設備の種類 | 法定耐用年数 |
|---|---|
| 電気・照明設備 |
|
| 給排水・衛生・ガス設備 |
|
| 空調・給湯設備 |
|
| 通信設備 |
|
| 昇降機設備 |
|
| 避難設備 |
|
| スクリーンなど |
|
| 店用簡易装備 |
|
| 移動可能な間仕切り |
|
| 看板 |
|
| その他のもの |
|
ただし、建物附属設備の中でも建物との固着性が高いものは、建物本体の法定耐用年数が適用される場合もありますので、店舗のスケルトンリノベーションを実施する際には、詳細を税務署などにご確認ください。
建物と一体化していない取り外し・移動が簡単なものは「器具備品」とみなされ、短い法定耐用年数が適用されます。
国税庁では、器具備品をかなり細かく分けて法定耐用年数を決めており、店舗改修と関わりが深いものは以下の通りです。
|
(参考:国税庁|確定申告書作成コーナー|よくある質問|耐用年数(器具・備品)(その1))

確定申告する際には、店舗改修にかかわる支出の会計方法と、減価償却の計算方法を知る必要があります。
決算書の作成における基本ルールである簿記においては、借方・貸方の振り分けが重要です。
| 借方に記入する内容 |
→帳簿の左側に書く |
| 貸方に記入する内容 |
→帳簿の右側に書く |
例えば、店舗改修に伴いフルリノベーションした場合、借方・貸方の記入は以下のようになります。
|
(設定)
|
| 借方 | 貸方 |
|---|---|
| 建物:1,200万円 | 普通預金:1,200万円 |
| 建物附属設備:800万円 |
普通預金:300万円 現金:500万円 |
ポイントは、借方・貸方の合計額が等しくなる点です。
借方・貸方の帳簿をこまめに記入することにより、確定申告における減価償却を把握しやすくなります。
減価償却の計算方法には、定額法と定率法があり、どちらの場合も耐用年数に応じた償却率を用います。
(参考:国税庁|減価償却資産の償却率等表)
| 定額法 |
償却期間中、毎年同じ額の減価償却費を計上する方法 →計算がシンプルで、損益計画を立てやすい
(例)
1,000万円× 0.067 = 67万円(1〜15年目の減価償却費) |
|
| 定率法 |
未償却残高(まだ償却していない金額)にも、一定率の減価償却費を計上する方法 →初期は節税効果が高く、年数とともに効果が減少
(例)
1年目の減価償却額:1,000万円× 0.133 = 133万円 2年目の減価償却額:(1,000-133万円)× 0.133 = 115.3万円 3年目の減価償却額:(1,000-133-115.3万円)× 0.133 = 100万円 4年目の減価償却額:(1,000-133-115.3-100万円)× 0.133 = 86.7万円 |
減価償却の計算方法は、税務署に届け出ていない限り、個人事業主は「定額法」、法人は「定率法」にするのが原則です。
(税務署に「減価償却資産の償却方法の届出書」を提出すれば、変更可能)
ただし、店舗改修にかかわる建物・建物附属設備は、個人事業主・法人問わず、定額法でしか償却できない可能性があるのでご注意ください。

店舗改修における減価償却を最適化し、長期的な収支計画を立てるために、以下のポイントをチェックしておきましょう。
|
特に重要なポイントが、「法定耐用年数・物理的耐用年数・経済的残存耐用年数の違い」です。
| 法定耐用年数 | 公正に減価償却するために税法で定めた耐用年数 |
| 物理的耐用年数 | 建物や設備が経年劣化によって、安全かつ正常に使用できる期間(=寿命) |
| 経済的残存耐用年数 | 取得(購入)してから、市場における資産的価値がなくなるまでの年数(主に建物において算定される) |
法定耐用年数と物理的耐用年数・経済的残存耐用年数は、多くの場合で等しくありません。
一般的には、「法定耐用年数<経済的残存耐用年数<物理的耐用年数」となります。
そのため、自己所有の店舗を新築する場合は経済的残存耐用年数・物理的耐用年数、テナント改修の場合は物理的耐用年数を意識した資金計画が重要です。
ポイント
店舗改修の予算を決める際は、税務だけではなく、改修周期やメンテナンスについて、並行して検討することが重要になります。
そのため、店舗改修の予算計画はまず設計事務所に相談し、大枠のプランを決めてから、税理士・会計士などに税務相談する方法がおすすめです。

ここでは、店舗改修の税務や減価償却について多くの方からいただくご質問を紹介します。
A.店舗改修にかかる工事費用は「40〜100万円/坪」が相場で、デザインを設計事務所などに依頼すると、別途、「総工事費の10〜15%」が設料として発生します。
※上記金額は、設備機器・家具や什器、外装工事、看板広告、レジシステム導入などの費用は含まれません。
ただし、業種や店舗の広さによって単価は異なり、居抜き物件の改修とフルスケルトンリノベーションの場合とでは倍以上費用が変わる場合も珍しくありません。
そのため、店舗改修の概算費用を知りたい方は、まず設計事務所などの無料相談を活用しましょう。
A.店舗改修後の物理的耐用年数(次に改修が必要になるまでの期間)は、部位によって異なります。
例えば、壁紙や塗装、カーテン・カーペットなどは5〜10年でやりかえが必要ですが、フローリングやタイル、設備機器は10〜20年のスパンで改修するのが一般的です。
ただし、飲食店では内装仕上げ材や設備機器が汚れたり破損しやすいなど、業種によって適切な改修時期のスパンは違いますので、詳しくは設計事務所などに現地を調査してもらいましょう。
A.賃貸物件を退去する際の原状回復工事にかかる支出は、原則として全て修繕費に該当するため減価償却せず一括計上しますが、高額になる場合は「特別損失」として計上できる可能性があります。
原状回復にかかった費用を固定資産除去損として特別損失計上すると、通常の支出とは異なり、一過性の赤字と判断され、投資家や金融機関からの事業安定性に関する判断に与えるマイナスの影響を抑えられます。
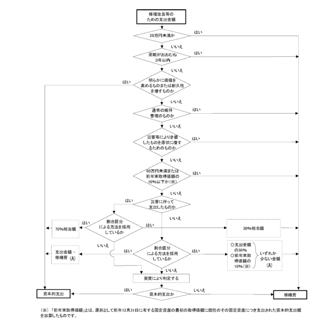
A.資本的支出と修繕費の区分で迷った場合は、管轄の税務署に相談する方法が最も確実ですが、合わせて税法上の判断基準を知っておく必要もあります。
国税庁では、資本的支出と修繕費を判断するためのフローを公開しています。
上記のフローを踏まえて、税務において「10万円基準」「20万円基準」「60万円基準」という言葉が使われています。
| 10万円基準 | 資本的支出・修繕費の区分が明確ではないものに限り、対象固定資産の前期末取得価額の10%相当額以下である費用は、「修繕費」にできるルール |
| 20万円基準 | 1つの修理・改良にかかった費用が20万円未満の場合は、細かい判断なしに「修繕費」にできるルール |
| 60万円基準 | 資本的支出・修繕費の区分が明確ではないものに限り、60万円未満の費用を「修繕費」にできるルール |
(参考:国税庁|No.5402 修繕費とならないものの判定)
※詳細は管轄の税務署などにご確認ください。
A.中古資産を取得して減価償却する場合、法定耐用年数ではなく、使用可能期間として見積られる年数(見積耐用年数)に設定できる可能性があります。
見積耐用年数の算定方法は以下の通りです。
|
※詳細は管轄の税務署などにご確認ください。

減価償却を前提とした店舗改修を検討中の方は、資本的支出と修繕費の違いを見極めることが重要で、そのためには税務と設計を同時進行する必要があります。
また、税申告にかかわる基本ルールを知ると、より精度の高い経営計画を立てられます。
おしゃれでコストパフォーマンスの良い店舗改修を実現させたい方は、関連法令に関する知識と、設計実績が豊富な設計事務所にご相談ください。

僕たちのミッションは『すべてのクライアントに後悔のない建築を届ける』事です。
・洋服→試着ができる
・食品→試食ができる
・車→試乗ができる
上にあげたものと比べて圧倒的に『建築』は高価です。
ですが試しに作ってみることができません。
『建築』は一回勝負です。
なので、失敗してもやり直すことができません。
一回で満足の行く建物が出来るように計画して遂行する必要があります。
お客様のプロジェクトが確実に成功するようにYA+Aは常に全力で取り組んでいます。
建築が出来るまでには複雑に絡み合う大量の要素があります。
まずはそれらをシンプルになるように各フェーズごとに切り分けます。
①土地を探す
②土地に対してプランニングをおこなう
③資金計画、スケジューリングをする
④設計・デザインをする
⑤補助金等が使えるかどうか確認する、融資の手続きをする
⑥建築許可等各種申請をする
⑦トータルでのブランディングをおこないかかるコスト以上の価値を建築につける
⑧施工会社選定・入札サポート・コスト管理をおこない建築コストを予算内におさめる
⑨施工監理をおこない建物クオリティを保ち完成させる
簡単に書き出すと上記の項目が挙げられます(細分化するとキリがないくらいの量になりますのでこのくらい大まかにしておきます。)
これらを一つ一つ丁寧にクリアしていくことでお客様に安全で性能を担保した建築を予算内で計画した期間内で完成させます。
そして建築に支払ったコスト以上の価値を付加します。
YA+Aは200棟以上の建物を企画・設計・監理してきました。
エリアは日本では関東を中心に東北、関西、九州に実績があります。
海外では中国で9999㎡の巨大な宿泊施設と幼稚園、スポーツジムの複合施設の設計・監理の実績があります。
小規模〜大規模の様々な建築を全力で設計・監理してきました。
土地探しからお役に立てるように不動産知識、ネットワークの向上に常に努めています。
最適なプランニングをおこなうために調査・検討を怠りません。
計画が滞らないよう時間・お金に対する計画は常にプランニングと連動させ確認しながら進めています。
性能・デザイン・コストを意識しながら設計をしています。
補助金等を使用して資金的に有利に建築を進められるようにコンサルティングをしています。
建築をするために必要な各種申請をスムーズにおこないます。
お客様が支払う建築コスト以上の価値が出るようにブランディングのお手伝いをしています。
建築コストを予算内かつコスパよくするために、施工会社選定・入札サポート・コスト管理を徹底的におこないます。
建物が合法的でクオリティの高いものになるように様々な監理をおこなっています。
お客様の建築を『成功』させるために必要なあらゆる項目をYA+Aスタッフ全員が全力でお手伝いさせていただきます。
以下にYA+Aが建物を設計する際に大切にしていることを書かせていただきましたので是非読んでいただければ幸いです。
— すべてのクライアントに後悔のない建築を —
建築は、完成してからではやり直せない【最大の投資】です。本書では、ヒアリング × BIM × コスト・スケジュール・品質の三位一体管理によって、後戻りコストを最小化し、建築を採用・ブランド・業務効率・集客につながる経営資産へと変える視点をまとめました。
建物を建てたいオーナーの方はもちろん、顧客満足度を高めたい設計事務所関係者の方にも役立つ内容です。
なお、本書の元となった文章のダイジェスト版は Web にて無料公開しています。
設計事務所の仕事内容はお客様からすると、何をしてくれるのだろう?と分かりづらいかと思います。
YA+Aは設計、デザインはもちろんですが、資金計画や入札管理等のお金の事、工事監理による建物クオリティに関する事、プロジェクト全体のスケジュール管理、それ以外にも土地の事など建築プロジェクトの最初から最後までお客様のサポートをさせていただいております。
YA+Aの仕事について25分程の動画をつくりました、是非ご覧ください。
YA+Aについて
1981年創業の設計事務所です。
医療、福祉、こどもの建物、店舗、住空間など様々な建物の設計経験の蓄積があります。
長い経験に基づいた多数の建築、メディア、講演等、多彩な実績を持つ会社です。
また2008年から取り入れたBIM(3次元設計)のベテラン(業界トップクラス)でもあります。BIMの技術を活用してわかりやすくきめの細かい設計サービスを提供しています。
東京、栃木、新潟の3拠点をベースに26名のスタッフで『全てのクライアントに後悔のない建築を』をテーマに日々、設計、デザインの技術を研鑽しています。
お客さまが建築に投じる多額の投資を一番効率的かつ満足度の高い形で実現させる事を一番に設計・監理を行う会社です。

お客様の建築を満足して完成するためのYA+Aのサポート内容
建築を本当に満足して建てるためには様々な要素が関係しますが、その中で特に重要なものが以下になります。
・デザイン、設計
・資金計画、コスト管理
・施工クオリティ、スケジュール管理
上記のバランスが取れた状態でお客様のプロジェクトが進むようにYA+Aは様々なフェーズでサポートさせていただきます。

YA+Aは不動産業の登録をしています。
不動産取引の知識+建築設計のノウハウを活かし一人一人のお客様の要望(予算、エリア、面積、建物用途etc…)にあわせて最適な不動産をお探しします。 また、不動産を探すだけでなく、その土地にどのようなボリュームの建物が建てられるかの検討を一級建築士がおこない「土地」+「建物」の資金計画をご提案します。 一般的な不動産会社では提供していないサービスを含んでいますが仲介手数料は一般的な不動産会社より安価な「消費税抜きの土地の価格×2%」とさせていただいております。

敷地情報及び施設規模等のご要望をもとにラフプランを作成しスケジュール、概算の建築費を算出いたします。
設計の初期段階から資金計画、工程計画を意識して進めることによってお客様の計画実現を徹底的にサポートします。
初期プランニング提出物
①建築プラン
②概算資金計画書
③工程表
上記3点を打ち合わせ毎に提出し資金計画、スケジュールを間違いの無いように進めていきます。

建築をお客様の理想の建物に近づけるためには、お客様と設計事務所のイメージを間違うことなく共有することが必要です。
高い精度でイメージ共有するために(BIM)3Dデータを用い様々な角度から提案、確認をさせていただいております。
視覚的に打ち合わせすることによってお客様にわかりやすく提案することに加え、提案に対してお客様からのご意見もいただきやすくなります。
BIM(3D)ベースの打ち合わせによって提案を磨き上げ理想の建築を目指すことをお約束します。

土地の条件や建物の規模によって適切な工法は違います。YA+Aではお施主様のご要望や土地の条件、予算等をもとに適切な工法を提案させていただきます。 建具やその他材料も一般的な既製品だけでなく様々な物を選択の視野にいれてお施主様の理想の施設を目指します。
自由な工法の一例
・構造は在来木造、SE構法、鉄骨造、鉄筋コンクリート造その他様々な工法に対応可能です、もちろん構造計算によって安全性を担保します。
・左官や無垢材、塗装にマニアックな材料も安全性を考慮の上選択肢に。
・イベントを兼ねた自主工事などお客様のご希望に沿うことができます。
その他ご希望があれば遠慮なくご相談ください。

法人様が各種公募に参加するための各種図面、建築費等の資料作成、事業計画、プレゼンテーション資料作成などのお手伝いをいたします。
3Dパースや動画等で審査員に計画内容をわかりやすくお伝えします。
期間が短い場合でもなるべく対応させていただきますので、できる限り早めのお声掛けをお願い致します。
園舎、障害者施設、高齢者施設等の公募サポート当選実績があります。

各種補助金申請のための図面、資金計画、申請書類等の作成のお手伝いを承っております。
期間が短い場合でもなるべく対応致しますので、できる限り早めのお声掛けをお願い致します。
園舎、高齢者施設、障害者施設、事業再構築補助金、WAM融資の実績があります。
建て替えの為の老朽度診断、耐震診断のお手伝いもいたします。
お客様の案件ごとに補助金をお調べいたします。

お客様の建物のクオリティを保つため、建設会社が実施設計図面の通りに工事しているか、工程に遅れが出ていないか、様々なことをチェックします。
建物が完成した後、実施設計図面通りに出来ているか、ミスは無いか検査を行います。
各種法令に対応するように確認をおこない、役所や消防、その他の行政検査の手続き、立ち会いをおこないます。

お客様の建物が適正な価格で建てられるように、コスト管理を行います。
作成した図面をもとに、施工会社の入札管理、見積り内容のチェックをおこない、施工会社の選定のお手伝いをします。(お客様のお付き合いのある施工会社での施工も可能です。)
また、予算内に建築がおこなわれるように入札以外にもVE、CD等各種調整もさせていただきます。
設計するだけでなく、施工費がお客様の予算内で収まるように調整することを大切に考えてプロジェクトを進めさせていただきます。

お客様の理念を形にした建物だけでなく、トータルで一貫したロゴ、WEB、ムービー、パンフレット等のリブランディングのお手伝いもお受けいたします。
設計で作成する3Dはムービーとして施設完成前にもWEB等で集客、求人アピール等にご活用いただくことができます。

建築以外でもトータルでお客様のビジネスの『見た目』を整えます







・老朽度診断
建物の建て替えの際に老朽度診断が必要になる場合があります、建物検査の上診断書を提出させていただきます。
各種業務お気軽にお問合せください。
建物を設計する上で『打ち合わせ』は一番大切と考えています。
図面、パース、3D、資金計画、スケジュール、etc..大量の情報をお客様と共有できないと設計を満足いただける形で仕上げることはできません。
YA+Aでは対面はもちろんZOOM等のリモート会議でもイメージ共有を万全に取るために、様々な資料を共有してメモを入れながらお客様に説明をしています。
株式会社 横松建築設計事務所
代表者:一級建築士 横松邦明
設立:1981年
資本金:22,100,000円
事務所登録:一級建築士事務所・東京都知事登録第62130号
栃木県知事登録第A-ト1130
管理建築士:横松宏明 一級建築士 登録第123630号
社員26名(一級建築士11名、二級建築士8名、宅地建物取引士1名、木造耐震診断講習修了者3名、栃木県震災建築物応急危険度判定士2名、建築積算士1名、福祉住環境コーディネーター二級1名)

太陽の感じることのできる空間、高齢者施設を感じさせることのないデザイン、
職員のパフォーマンスを最大限に高める建物を希望し、横松さんに設計をお願い致しました。出逢いから竣工まで、約4年超かかりましたが、ずっと伴走して下さり希望どおりの建物が完成いたしました。
建物を創るだけでなく、補助金の申請に関する事務やアドバイス等たくさんの支援もして下さいました。常に施主側の想い寄り添ってくださり本当に感謝しています。日頃の打ち合わせもZOOM等を活用し、距離を感じることなく十分な検討を行うことが出来ました。
当法人の入所者の方が「生きてて良かった」と言ってもらえるように、当法人の仲間が「ここで働けて良かった」と思える空間が出来上がったと思います。
本当に長い間ご一緒に仕事をさせてもらえたことに感謝いたします。今後もクライアントという関係性を越え、同志としてお付き合いさせてもらえればと願っております。
素晴らしい建物と共に、これからの高齢者福祉を支える一翼として邁進して参ります。
本当に、本当にありがとうございました。

チベット高原における西寧森林幼稚園:国を超える夢へ
西寧森林幼稚園名誉園長 盧中潔
標高2000メートルを越える高地に森の幼稚園を創ろうとする夢は2018年から芽生えた。「35以上の少数民族が住んでいる夏の都―青海省西寧市で幼稚園を創りたい」。このような問い合わせを受けた横松社長が大雪の中から現れ、夢を語る初めての打ち合わせだった。「起伏感があり、閉塞感がなく、子どもたちは自由に探究できるような園にしたい」。日本の幼児教育を学びに来る留学生として、倉梯惣三の思想に大きく影響され、自分が望んでいる園の理想像を実家の西寧に実現したい。その後、中国のみなさんは横松さんが持ってきたデザインに一目惚れした。8の字に建物を立体交差させ、無限大の∞のような形だった。
それから、言語の壁、制度の違い、工事の水準やコロナの影響など数多くの困難に直面してきたが、中国現地と協働体制を整え、着工してから4年間もした2022年3月、やっと夢のような開園を迎えた。その中で、開園に至るまで大きく機能したのは、BIMソフト「ARCHICAD」による三次元建物モデルであった。遠く離れている西寧でも幼稚園の模様をその場にいるかのように確認することができる。
嬉しいことに、園のデザインは「日本工業経済新聞社」社長賞に受賞され、西寧ないし中国の西北地域の政府関係者に報道されたり、幼児教育業界の方々に高く評価されてきた。開園して2年間もないうちに、市の中心部から10㎞以上も離れている立地において、200人以上の園児はスクールバスで毎日通っている。一番遠い子は片方で20㎞以上も離れているところから通っているが、子ども視線で創られた園に来たいという子どもと保護者からの感想があった。このような場面を一早く横松建築設計のみなさんにも共有したい気持が一杯である。西寧森林幼稚園のみなさんも、長年積み上げてきたパートナーシップこそ大事な宝物だと共感している。
インターネット環境が進んでいる今日、このような日中の国の壁を越えるような成功例がこれからもきっと多く湧いてくるだろう。より多くの子どもの夢を支えるように、横松建築設計とのご縁を大事にしていきたい。

関東方面での保育園計画が初めてでしたが、最初から最後まで横松設計さんにサポートし ていただき、法人の想いが形になり、とても満足しております。 土地探し、公募対応、施工業者選定、入札、借入相談、補助金申請など、設計だけではなく トータルで対応していただけたので安心してお任せすることができました。
遠方だったため zoom での打合せが多くなりましたが、法人の要望を的確に受け止めていた だき、イメージ等もたくさん出していただいたのでとても分かりやすく進めることができ ました。 また、畳のランチルームやパススルーロッカーなど、設計実績があるからこその多くの提案 があり、きめ細かな設計に感動しています。 出来上がった保育園は、木のぬくもりがある園舎と自然が感じられる園庭で、子ども達が楽 しそうに過ごしています。保護者や先生達からもとても評判が良いです。 出来上がってからも細かいところまでフォローしてくださるので、ちょっとしたことでも 安心して相談できます。これからも宜しくお願いします。

私たちの保育園は、鉄骨造の建替えをお願いしました。特にバルコニーの特徴的な外観が気に入り、まさに理想の保育園となりました。また、モンテッソーリを取り入れた内装や教具入れのデザインにも大変満足しています。
デザインに関しては、納得いくまで何度も提案してくれたことが印象的でした。おかげで、最終的なデザインに大変満足しています。
さらに、3Dで建物の中を体験させてくれました。これにより、実際にどのような空間になるのかを事前に把握することができ、理解しやすくなりました。これは、保育園の運営において重要なポイントであるため、大変助かりました。
建築費についても、何社も見積りを取ってくれました。これにより、コストパフォーマンスが良い選択ができました。結果として、安く済むように努力してくださったことに感謝しています。
おかげで、新しい保育園が無事に完成しました。これからも、子どもたちに安心して通える保育園を提供できるよう、引き続きお世話になりたいと思います。今後のご活躍を心よりお祈り申し上げます。

鉄骨造の保育園の建替えについて、素晴らしいサービスを受けることができました。
特に、タイル張りのシンプルで耐久性のある外観には大変満足しています。内装や教具入れのデザインもホワイトを基調としたシンプルで機能的なもので、とても気に入りました。
さらに、建替えの打ち合わせも丁寧に行っていただき、漏れのない図面を仕上げていただきました。何度も細かな修正にも対応していただき、本当にありがとうございました。
また、建築費が予算内でおさまるように、複数の建築業者の入札を仕切ってくださったことにも感謝しています。こちらの要望や予算に合わせて、最適な提案をしていただきました。
この度は本当にありがとうございました。建替え後の保育園は、子どもたちが安心して過ごせる居心地の良い場所になっています。

保育園の設計において、私たちの希望をすべて叶えてくれたと感じています。特に8の字になった回遊できる廊下は、先生方も子どもたちも大変気に入っており、楽しく過ごすことができる空間になっています。
また、木造の素材感を活かした内装デザインは、温かみがあり、自然に触れることができる環境を作り上げてくれました。これにより、子どもたちが安心して過ごせる空間が実現しました。
さらに、BIMを用いて立体空間を体験させてくれたことで、設計段階から具体的なイメージを持つことができ、納得のいく打ち合わせが進められました。その結果、漏れのない図面が作成され、より良い保育園が完成しました。
また、建築費が予算内に収まるよう、複数の建築業者の入札を適切に仕切ってくれたことは大変助かりました。これにより、質の高い保育園を予算内で実現できたことに感謝しています。
全体的に素晴らしいサービスであり、私たちの保育園に対する理想を具現化してくれました。この保育園で子どもたちが楽しく成長できることを確信しています。

この保育園の設計には本当に感動しました。シンプルでセンスを感じる外観デザインは、園児たちが毎日楽しみに通う場所となっています。大きな吹き抜けのあるランチルームは、滑り台や空間に飛び出す家が設置されており、綺麗なライトがたくさん下げられています。ランチルームからは富士山が眺められ、子どもたちに素晴らしい景色を楽しませてくれます。
また、子供が利用できるキッチンは食育にとても役立っています。木造の木の質感を活かした内装デザインも大変気に入っています。さらに、BIMで立体空間を体験させてもらったことで、イメージがぐっと膨らみました。納得いくまで打ち合わせを重ね、漏れのない図面を仕上げてくれたことも大変ありがたかったです。
建築費が予算内でおさまるように建築業者とのやりとりもしてくれ、遠方の山まで監理に来てくれたのは本当に感謝しています。この保育園の設計は、園児たちの成長とともに、私たちの心にも深く刻まれることでしょう。

私たちの要望を丁寧に聞いてくださり、広大な敷地に障害者入所施設、多目的ホール、保育園、就労支援施設の4つの建物を設計していただきました。何度もプランニングを繰り返すことで、最高のプランができあがり、私たちは大変満足しています。
この施設のデザインは、一見すると福祉施設には見えないモダンなデザインで、利用者の皆様にも快適に過ごしていただける空間が提供されています。また、施設のコンセプトであるまちづくりも実現でき、地域に根ざした施設ができあがりました。
設計チームは、コストパフォーマンスにも優れた設計を提案してくれ、予算内で素晴らしい施設が完成しました。プロジェクトを進める中で、設計チームは粘り強くクライアントに寄り添い、我々の要望を的確に捉え、素晴らしい仕上がりになったことに感謝しています。

就労支援施設、高齢者デイサービス、発達支援、放課後デイサービスといった多機能を備えた施設は、前例がないほど珍しいケースでしたが、設計チームは丁寧に対応してくれました。
デザインは非常に秀逸で、私たちだけでなく関係者からも大変評判の良いものとなりました。内装デザインやディスプレイまで一貫して手掛けていただき、統一感のある施設に仕上がりました。また、BIMを用いた提案はわかりやすく、理解しやすかったです。
設計変更にも柔軟に対応していただき、気兼ねなく相談することができました。そして、建築コストも予算内で収まり、それ以上の価値を感じる素晴らしい建物が完成しました。
この設計チームと一緒にプロジェクトを進められたことを心から感謝しております。今後も多くの人たちが利用するこの施設が、地域の福祉に貢献できることを確信しています。今回のプロジェクトを成功させてくれた設計チームに改めて感謝申し上げます。

YA+Aは素晴らしい仕事をしてくれました。まず、彼らのデザインが非常に魅力的で、それが私をウェブサイトで問い合わせさせるきっかけとなりました。しかし、彼らのサービスはデザインだけに留まらず、貸店舗を成功させるためのビジネス面でもたくさんの知恵を提供してくれました。
この会社は、ウェブでの集客にも力を入れてくれ、効果的なマーケティング戦略を提案してくれました。これによって、建物がオープンする前にすでにテナントが入る状態になり、大変喜ばしい結果となりました。
建物自体もデザイン性が高く、資産としてとても価値のあるものができあがりました。このような素晴らしいサービスを提供してくれた会社に感謝の気持ちでいっぱいです。彼らは私が持っていたビジョンを具現化し、期待以上の成果を引き出してくれました。
これからも、彼らのサービスを利用したいと思いますし、友人や知人にも自信を持ってお勧めできる会社だと感じています。彼らの専門知識と経験によって、私の事業はさらに成功へと導かれることでしょう。本当にお世話になりました。

この歯科クリニックの設計に関して、選んだ建築コンペの会社が素晴らしい仕事をしてくれたと感じています。外観は白を基調としたシンプルなデザインで、飽きのこない変化とアクセントがあり、非常に満足しています。
内装についても、高いセンスが感じられ、ホワイトをベースに木の素材を取り入れたデザインは患者からも大変好評です。また、近隣のクリニックとの差別化が図れており、これからも多くの患者に愛されるクリニックであることを確信しています。
作業スペースも色分けや仕組化がされており、衛生的な環境で働けるようになっています。これにより、患者に安心して治療を受けていただけると思います。
打ち合わせの際には、3Dでの確認が可能で、理解しながら進めることができました。これにより、イメージ通りのクリニックが実現できたと感じています。
このクリニック設計の素晴らしさに感謝し、今後も多くの患者に喜んでいただけるよう、スタッフ一同努力してまいります。この度は、本当にありがとうございました。

クリニックの設計において、外観はシンプルでセンスの良さが感じられるデザインが施されており、木目のタイルが非常に印象的です。これにより、患者様からも大変好評であると感じています。
内装についても、同様にシンプルかつセンス良く、木調のアクセントや石張りのデザインが取り入れられていることが気に入っています。このデザインは、落ち着いた雰囲気を演出しており、患者様にも安心感を与えることができるでしょう。
また、動線についてもシンプルで働きやすい配置になっており、設計の段階からこだわっていただいたことが感じられます。これにより、スタッフの効率的な働き方が実現でき、患者様へのサービスも向上しています。
素材にもこだわりがあり、デザイン性や掃除のしやすさに優れているため、非常に満足しています。打ち合わせの際には、3Dで確認しながら進めることができたので、イメージをよく理解しながら設計を決定することができました。
全体として、このクリニックの設計は、機能性とデザイン性のバランスが絶妙であり、多くの患者様から支持されていると感じています。この設計によって、クリニックが一層信頼される場所となっていることを実感できます。

この度は、私たちの老人ホームの設計を担当していただき、誠にありがとうございました。外観に関しては、シンプルでローコストを目指していただいたことが大変喜ばれました。また、アクセントを加えていただいたおかげで、単調にならずに美しい仕上がりとなり、非常に満足しております。
設計過程での打ち合わせについても、3Dで確認しながら進めることができたので、私たちがどのような建物になるのかをイメージしながら決定を下すことができました。そのおかげで、細部にわたるまで意見を取り入れていただき、理想に近い形での設計が実現しました。
また、プロジェクトの進行においても、迅速な対応と丁寧な説明があり、安心して任せることができました。私たちの要望や疑問にも親身になって対応していただき、大変感謝しております。
お陰様で、老人ホームが完成した際には、入居者の方々からも大変好評であり、これからも多くの方々に安心して過ごしていただける場所となることでしょう。
この度は本当にお世話になりました。今後ともどうぞよろしくお願い申し上げます。

私たちの家の設計をお願いした際、外観はSOLIDOを使用してシンプルでセンス良く仕上げていただき、大変気に入りました。また、妻からも高い評価を受けています。内装もシンプルで、吹き抜けのデザインがとてもおしゃれで気に入っています。
我が家では犬を飼っているため、床の材料にタイルを選んでいただいたことは本当に感謝しています。タイルは犬の爪にも優しく、お掃除も簡単にできるので大変助かっています。
また、家の動線もシンプルで、働きやすさにこだわった設計がなされていて、日々の生活が快適です。屋上にはバーベキューができる広いスペースがあり、家族や友人と楽しい時間を過ごせます。
インナーガレージから愛車をリビングで眺めることができるデザインも最高で、特別な空間が作られています。使用されている素材にもこだわりがあり、デザインや掃除のしやすさも素晴らしいです。
設計の打ち合わせでは、3Dで確認しながら進められたため、分かりやすく、自分たちの希望通りの家ができ上がりました。このような素晴らしい家を設計していただいたことに心から感謝しています。本当にありがとうございました。

今回、保育園の設計をお願いしましたが、補助金の申請や近隣説明会、役所対応まで幅広くサポートしていただき、大変助かりました。外観はカントリー調でセンスが良く、保護者からも好評です。私自身も大変気に入っています。
内装もシンプルで木調のアクセントや吹き抜けのデザインが取り入れられ、素晴らしい雰囲気が漂っています。動線もシンプルで、働くスタッフが快適に過ごせるように設計されており、効率的な運営ができる環境が整っています。
素材にもこだわりがあり、デザインや掃除のしやすさが兼ね備えられているので、維持管理が容易です。打ち合わせでは、3Dで確認しながら進めることができたため、イメージがしっかりと把握でき、スムーズな進行が可能でした。
この設計により、子どもたちが安心して過ごせる保育園ができ上がりました。保護者の方々からも高い評価をいただいており、感謝の気持ちでいっぱいです。今後もサポートをよろしくお願いいたします。本当にありがとうございました。

私が依頼した設計は、クリニック、高齢者デイサービス、サービス付き高齢者住宅という複雑な要素を含むものでした。YA+Aはこれらの要素を見事に融合させて素晴らしい複合施設を完成させてくれました。
外観はシンプルでありながら、細部に変化をつけることで親しみやすさを感じさせるデザインに仕上げてくれました。内装は白と木調の組み合わせで、落ち着いた雰囲気を醸し出しています。特に、サービス付き高齢者住宅部分はホテルのような高級感あふれるデザインに仕上げてくれました。
打ち合わせの際には3Dで設計を確認しながら進めることができたので、私自身もプロジェクトに深く関与することができました。そのおかげで、最終的な設計に対する理解が深まり、私の理想とする施設が具体的に形になった瞬間は非常に感動的でした。

薬局の設計をお願いし、素晴らしいリノベーションができたことを心から感謝しています。東京北区で既存の店舗をリノベーションし、薬局を作ることができました。デザインについては、シンプルな内装で白と木調の組み合わせが気に入っています。このデザインは、清潔感がありつつも落ち着いた雰囲気を作り出しており、お客様にも好評です。
打ち合わせの際に3Dで確認しながら進めることができたため、よく理解しながら計画を立てることができました。これにより、無駄な手間や時間をかけずに効率的にプロジェクトを進めることができました。

以前に教会の設計を依頼し、その結果に大変満足していたため、今回も園舎の建て替えについて依頼することにしました。YA+Aの仕事には改めて感心させられました。
私が望んでいたのは、平家で木造の温かみを感じられる建物で、それはまさに彼らが提供してくれました。そのデザインは、新しく、それでいてどこか懐かしさを感じさせるもので、すばらしいと感じています。
特に、既存の建物の床材を外壁に転用したアイデアは素晴らしかったです。この新たなデザインは、懐かしさと新しさが融合した感じで、私の心を捉えました。
打ち合わせの際に3Dで確認しながら進めることができたため、設計の全体像をしっかりと理解することができました。そのおかげで、理想の園舎が具現化される過程を目の当たりにし、大変感動しました。
私はプロとしてお客様の建築に関わる以外にも、自宅やオフィスなど自分がクライアントとしての建築や物件購入、事業の立ち上げをしてきました。
以下がこれまでに経験してきた自分達のためのプロジェクトです。
・自宅マンションのリノベーション
・自宅新築
・自社オフィス建築 木造
・自社オフィス用マンション購入
・自社オフィス建築 鉄筋コンクリート
・自宅をリノベーションしてゲストハウス
・就労支援事業立ち上げ
・建築系スキルコンテンツ販売事業立ち上げ
建築を考える上での悩みはもちろん、金銭面、納期、メンテナンス等の施主としての悩みも多く体験してきました。
デザインや機能、規模とコストのバランスに悩んだり、資材の遅れによる納期に悩まされたり、購入した中古物件のメンテナンスに悩んだり。
事業計画、資金計画を立て、資金調達に金融機関相談や補助金申請も経験しています。
YA+Aはそれらを一つ一つを自分達の出来事として検討して実際に体験しながら克服してきたのでお客様の色々な気持ちや悩みが理解できますし、解決する事ができます。
YA+Aがお客様の無料診断をさせていただきます。
YA+Aに1時間程度いただければ、お客様のご要望、課題、疑問等を『無料診断』して建築を進めていく上で必要な『建築プラン』をお作りさせていただきます。
『建築プラン』の内容は
・概算スケジュール計画
・建築計画概要書
上記2点です。
この内容で今後建物の建築をどのように進めていけば良いかの道標をお作りします。
ここまでは『無料』です。
建築計画をより具体的にしたい場合は『ファーストプラン』をご依頼ください。
(費用は想定される規模によって変わりますので無料相談時にお伝えします)
『ファーストプラン』の内容は
・建物のボリューム検討
・ボリュームを元にした概算資金計画
・全体のスケジュール計画
上記3点です。
この内容で、ラフな建物プランや資金計画、スケジュールを把握して計画のベースをお作りします。
このフェーズがまとまれば実際の設計やデザインの本格的なフェーズに入っていきます。
YA+Aの『ファーストプラン』にご満足いただけない場合は無料とさせていただきます。
診断は対面以外にもメール、電話、LINE、テレビ電話を用意していますのでお気軽にご依頼ください。
YA+Aでは建築に関する無料診断をおこなっております。
お客様のお話を伺って、『建築カルテ』をお作りさせていただきます。
場所はYA+Aのオフィスに来ていただくか、zoomで行うか、お客様指定の場所にお伺いさせていただきます。
どんな事でもお気軽にご相談ください。
提出物
・概算スケジュール計画
・建築計画概要書
メリット
建築を実現するためにやるべきことがわかる
お客様の計画を実現するためのの手がかりを得られる
設計事務所の仕事の進め方を理解出来る
低コストでできる初期計画。
建築計画のスタートに絶対必要な
・建物のボリューム
・概算の資金計画
・全体のスケジュール
の検討をお手伝いします。
お客様はその資料をもとに計画が適正であるかを判断することができます。
まずはファーストプランをご依頼していただければ、その後の計画をどう進めればよいかの指針をお作りします。
費用は計画を進める場合は設計料に充当しますので、初期段階での検討費用を抑えることができます。
※計画を進めない場合には実費精算となります。
YA+Aの仕事にお客様が満足出来ない場合は無料とさせていただきます。
こちらにお電話をおかけください。
03-5284-7106